Động cơ Bourke là một nỗ lực của Russell Bourke, vào những năm 1920, nhằm cải tiến động cơ đốt trong hai kỳ. Mặc dù đã hoàn thành thiết kế và chế tạo một số động cơ hoạt động, nhưng Chiến tranh thế giới thứ hai bắt đầu, thiếu kết quả thử nghiệm và sức khỏe yếu của vợ ông đã khiến động cơ của ông không bao giờ được tung ra thị trường thành công. Ưu điểm chính được khẳng định của thiết kế là nó chỉ có hai bộ phận chuyển động, nhẹ, có hai xung công suất trên mỗi vòng quay và không cần dầu trộn vào nhiên liệu.

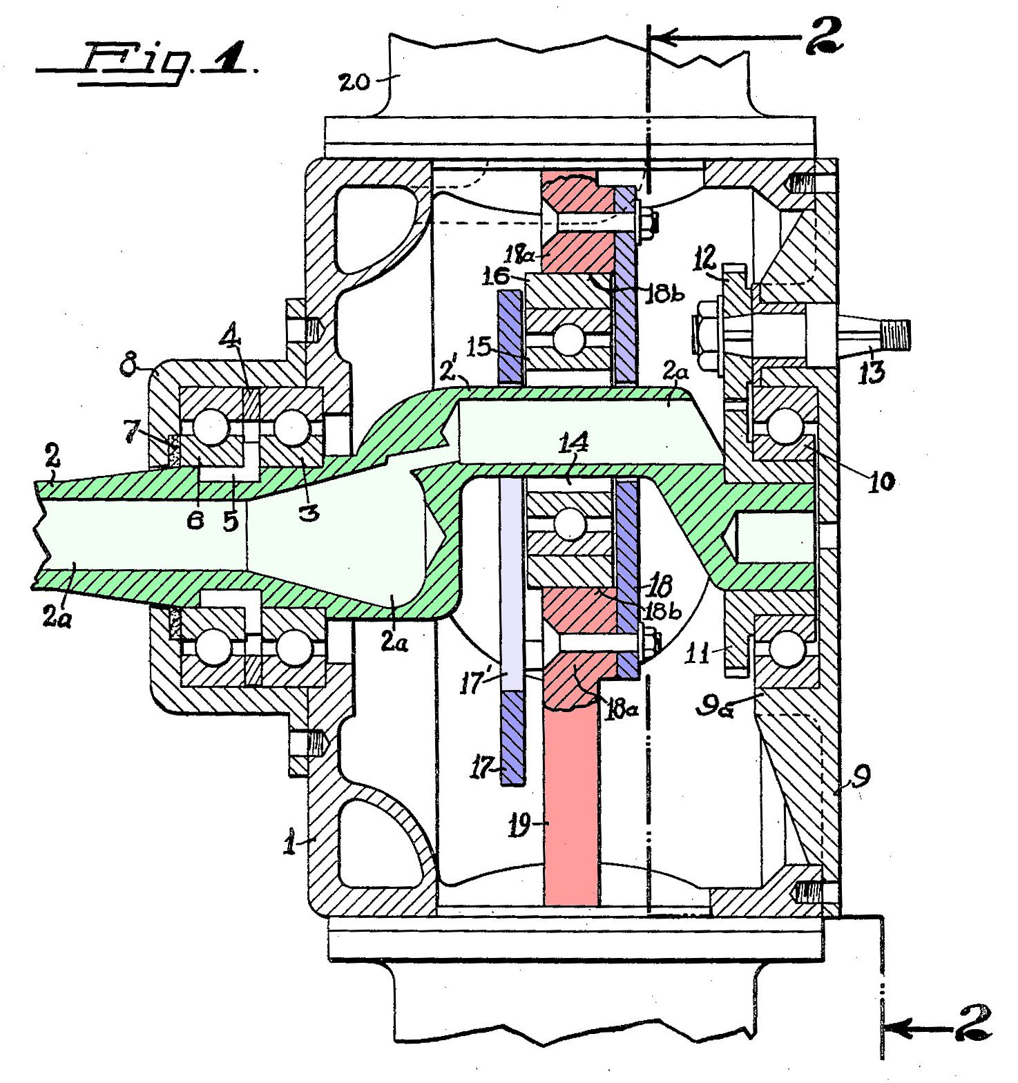
Động cơ Bourke về cơ bản là một thiết kế hai kỳ, với một cụm pít-tông đối diện theo chiều ngang sử dụng hai pít-tông chuyển động cùng chiều cùng một lúc, do đó hoạt động của chúng lệch pha nhau 180 độ. Các pít-tông được kết nối với cơ chế Scotch Yoke thay cho cơ cấu trục khuỷu thông thường hơn, do đó gia tốc của pít-tông hoàn toàn là hình sin. Điều này làm cho các pít-tông dành nhiều thời gian hơn ở điểm chết trên so với động cơ thông thường. Hỗn hợp nạp được nén trong một buồng dưới các pít-tông, giống như trong động cơ hai kỳ nạp hòa khí bằng cacte thông thường. Phớt thanh truyền ngăn không cho nhiên liệu làm nhiễm bẩn dầu bôi trơn phía dưới.
Động cơ Bourke hoạt động như thế nào?

Chu kỳ vận hành rất giống với chu kỳ hoạt động của động cơ hai thì đánh lửa cưỡng bức sản xuất hiện tại với quá trình nén cacte, với hai sửa đổi:
- Nhiên liệu được phun trực tiếp vào khí nạp khi nó di chuyển qua cổng trung chuyển.
- Động cơ được thiết kế để chạy mà không cần sử dụng tia lửa điện sau khi nó được làm nóng. Hiện tượng này được gọi là quá trình tự đánh lửa hoặc động cơ diesel, và hỗn hợp không khí/nhiên liệu bắt đầu cháy do nhiệt độ cao của khí nén và/hoặc sự hiện diện của kim loại nóng trong buồng đốt.
Đặc điểm thiết kế của Động cơ Bourke
Đặc điểm cơ học
- Cơ cấu Scotch yoke và thanh truyền trượt tuyến tính.
- Ít bộ phận chuyển động hơn (chỉ có 2 cụm chuyển động trên mỗi cặp xi lanh đối diện) và các xi lanh đối diện có thể kết hợp để tạo thành 2, 4, 6, 8, 10, 12 hoặc bất kỳ số lượng xi lanh chẵn nào.
- Pít-tông được kết nối với cơ cấu Scotch yoke thông qua ổ trục trượt (một loại ổ trục chất lỏng đệm thủy động).
- Phun nhiên liệu cơ học.
- Cổng thay vì van.
- Dễ dàng bảo trì với các công cụ đơn giản.
- Cơ cấu Scotch yoke không tạo lực ngang lên pít-tông, giảm ma sát và mài mòn pít-tông.
- Vòng O-ring được sử dụng để bịt kín các khớp thay vì miếng đệm.
- Cơ cấu Scotch yoke làm cho các pít-tông dừng lâu hơn một chút ở điểm chết trên, do đó nhiên liệu được đốt cháy hoàn toàn hơn với một thể tích nhỏ hơn.

Đặc điểm dòng chảy khí và nhiệt động học
- Nhiệt độ khí thải thấp (thấp hơn nước sôi) nên không cần các thành phần khí thải kim loại; có thể sử dụng nhựa nếu không yêu cầu độ bền từ hệ thống ống xả.
- Tỷ số nén 15:1 đến 24:1 cho hiệu suất cao và có thể dễ dàng thay đổi theo yêu cầu của các loại nhiên liệu và yêu cầu vận hành khác nhau.
- Nhiên liệu bị hóa hơi khi được phun vào các cổng chuyển tiếp, và sự nhiễu loạn trong các đường ống nạp và hình dạng pít-tông phía trên các vòng sẽ phân tầng hỗn hợp nhiên liệu-không khí vào buồng đốt.
- Đốt nghèo để tăng hiệu quả và giảm lượng khí thải (Tìm hiểu động cơ đốt nghèo).
Đặc tính bôi trơn
- Thiết kế này sử dụng phớt dầu để ngăn ô nhiễm từ buồng đốt (được tạo ra bởi quá trình thổi vòng xéc măng pít-tông trong bốn kỳ và chỉ đốt cháy trong hai kỳ) làm ô nhiễm dầu cacte, kéo dài tuổi thọ của dầu vì nó được sử dụng từ từ để giữ cho các vòng chứa đầy dầu. Dầu đã được chứng minh là sử dụng chậm, nhưng việc kiểm tra số lượng và độ sạch của nó vẫn được khuyến nghị bởi Russell Bourke, người tạo ra nó.
- Dầu bôi trơn được bảo vệ khỏi ô nhiễm buồng đốt bằng phớt dầu trên thanh truyền.
- Các vòng xéc măng piston được cung cấp dầu từ một lỗ cung cấp nhỏ trên thành xi lanh ở điểm chết dưới.
Tuyên bố hiệu suất và đo lường
- Hiệu quả – 0,25 (lb/h)/hp được tuyên bố – tương đương với động cơ diesel tốt nhất, hoặc hiệu quả gần gấp đôi so với động cơ hai thì tốt nhất. Điều này tương đương với hiệu suất nhiệt động là 55,4%, đây là một con số cực kỳ cao đối với một động cơ đốt trong cỡ nhỏ. Trong thử nghiệm có sự chứng kiến của bên thứ ba, mức tiêu thụ nhiên liệu thực tế là 1,1 hp/(lb/hr) hoặc 0,9 (lb/hr)/hp, tương đương với hiệu suất nhiệt động khoảng 12,5%, điển hình của động cơ hơi nước những năm 1920. Thử nghiệm động cơ Vaux 30 inch khối, do một cộng sự thân thiết của Bourke chế tạo, cho mức tiêu thụ nhiên liệu là 1.48 lb/(bhp hr) hoặc 0.7 (lb/hr)/hp ở công suất tối đa.
- Công suất trên trọng lượng – Silver Eagle được tuyên bố là sản sinh 25 mã lực từ 45 lb, hoặc tỷ lệ công suất trên trọng lượng là 0,55 mã lực/lb. Động cơ 140 inch khối lớn hơn cho công suất 120 mã lực từ khối lượng 125 lb, hoặc khoảng 1 mã lực/lb. Model H được tuyên bố là sản sinh công suất 60 mã lực với trọng lượng 95 lb, do đó mang lại tỷ lệ công suất trên trọng lượng là 0,63 mã lực/lb. Động cơ đôi 30 cu được báo cáo là sản sinh công suất 114 mã lực tại 15000 vòng/phút trong khi chỉ nặng 38 lb, một mức đáng kinh ngạc là 3 mã lực/lb. Tuy nhiên, một bản sao 30 cu từ Vaux Engines chỉ tạo ra 8,8 mã lực tại 4000 vòng/phút, ngay cả sau khi đã làm lại đáng kể. Các nguồn khác khẳng định 0,9 đến 2,5 mã lực/lb, mặc dù không có thử nghiệm được chứng kiến độc lập nào chứng minh những con số cao này đã được ghi lại. Phạm vi trên của động cơ này tốt hơn gần gấp đôi so với động cơ sản xuất bốn thì tốt nhất được hiển thị ở đây, hoặc tốt hơn 0,1 hp/lb so với động cơ hai thì Graupner G58. Tuyên bố thấp hơn là không đáng kể, dễ dàng bị vượt qua bởi động cơ bốn thì sản xuất, đừng bận tâm đến hai thì.
- Phát thải – Đạt được hầu như không có hydrocarbon (80 ppm) hoặc carbon monoxide (dưới 10 ppm) trong các kết quả thử nghiệm đã công bố, tuy nhiên không có công suất đầu ra nào được cung cấp cho những kết quả này và NOx không được đo.
- Khí thải thấp – Động cơ được tuyên bố là có thể hoạt động bằng hydro hoặc bất kỳ nhiên liệu hydro-cacbon nào mà không cần bất kỳ sửa đổi nào, chỉ tạo ra hơi nước và carbon dioxide dưới dạng khí thải.

Đánh giá kỹ thuật động cơ Bourke
Động cơ Bourke có một số tính năng thú vị, nhưng những tuyên bố ngông cuồng về hiệu suất của nó dường như không được chứng minh bằng các thử nghiệm thực tế. Nhiều tuyên bố mâu thuẫn nhau.
- Ma sát từ phớt giữa buồng nén khí và cacte, tỳ vào thanh truyền sẽ làm giảm hiệu suất.
- Hiệu quả sẽ giảm do tổn thất bơm, vì lượng không khí được nén và giãn nở hai lần nhưng năng lượng chỉ được trích xuất để cung cấp năng lượng cho một trong các lần giãn nở trên mỗi hành trình pít-tông.
- Trọng lượng động cơ có thể sẽ cao vì nó sẽ phải được chế tạo rất chắc chắn để đối phó với áp suất cực đại cao được coi là kết quả của quá trình đốt cháy nhanh ở nhiệt độ cao.
- Mỗi cặp pít-tông rất mất cân bằng do hai pít-tông chuyển động cùng chiều cùng một lúc, không giống như trong động cơ boxer. Điều này sẽ hạn chế phạm vi tốc độ và do đó sẽ hạn chế sức mạnh của động cơ, đồng thời làm tăng trọng lượng của động cơ do kết cấu chắc chắn cần thiết để phản ứng với các lực lớn trong các bộ phận.
- Động cơ hai kỳ tốc độ cao có xu hướng kém hiệu quả hơn so với động cơ bốn kỳ vì một số lượng khí nạp thoát ra không cháy hết theo khí thải.
- Việc sử dụng không khí thừa sẽ làm giảm mô-men xoắn có sẵn cho một kích thước động cơ nhất định.
- Buộc khí thải thoát ra ngoài nhanh chóng qua các cổng nhỏ sẽ làm giảm hiệu suất hơn nữa.
- Vận hành động cơ đốt trong trong quá trình kích nổ làm giảm hiệu suất do nhiệt thất thoát từ khí cháy bị sóng xung kích cọ sát vào thành buồng đốt.
- Khí thải – mặc dù một số thử nghiệm cho thấy lượng khí thải thấp trong một số trường hợp, nhưng chúng không nhất thiết phải hoạt động hết công suất. Khi tỷ lệ quét sạch (tức là mô-men xoắn của động cơ) tăng lên, nhiều HC và CO sẽ được thải ra.
- Thời gian dừng tại TDC tăng lên sẽ cho phép truyền nhiều nhiệt hơn đến thành xi lanh, làm giảm hiệu suất.
- Khi chạy ở chế độ tự đánh lửa, thời điểm bắt đầu đánh lửa được kiểm soát bởi trạng thái hoạt động của động cơ, thay vì trực tiếp như ở động cơ đánh lửa cưỡng bức hoặc động cơ diesel. Do đó, có thể tối ưu hóa nó cho một điều kiện vận hành, nhưng không phải cho nhiều loại mô-men xoắn và tốc độ mà động cơ thường thấy. Kết quả sẽ là giảm hiệu quả và lượng khí thải cao hơn.
- Nếu hiệu suất cao thì nhiệt độ đốt cháy phải cao, theo yêu cầu của chu trình Carnot và hỗn hợp nhiên liệu không khí phải loãng. Nhiệt độ đốt cháy cao và hỗn hợp nghèo làm cho nitơ đioxit được hình thành.







Discussion about this post